티스토리 뷰
목차
요즘 민생소비쿠폰 신청하랴, 부담경감 크레딧 챙기랴, 에너지 바우처까지... 사업하시는 분들 정말 바쁘시죠?
게다가 7월은 부가세 신고 시즌까지 겹쳐서 더욱 정신없으실 텐데요.
혹시 아직도 세금 신고할 때마다 카드사에 일일이 연락해서 사용 내역 요청하고 계신가요? 그럴 필요 없습니다.
홈택스에 사업용 신용카드를 한 번만 등록해두면, 매입 내역이 자동으로 수집돼 별도로 요청하지 않아도 바로 내려받을 수 있으니 훨씬 간편하죠.
간단한 등록만으로 부가세 신고가 아주 쉬워지니 바로 실천하세요!
위 버튼을 누르시면 해당 페이지로 이동합니다.
사업자라면 사업 관련 지출을 명확히 구분하는 것이 세무상 매우 중요합니다. 홈택스에서 사업용으로 사용할 신용카드를 등록하면, 해당 카드로 발생한 모든 매입내역이 자동으로 수집되어 매입세액 공제를 손쉽게 받을 수 있습니다.
홈택스 사업용 카드 등록 방법
① 홈택스 접속 후 → [계산서·영수증·카드] → [신용카드 매입] → [사업용 신용카드 등록 및 조회] 메뉴로 이동합니다.
② 사업자등록번호, 카드번호, 휴대폰 번호를 입력 후 등록하면 완료!
등록만 해두면 자동 수집!
등록된 카드는 국세청이 자동으로 사용 내역을 불러옵니다. 예를 들어, 10월에 등록한 카드의 경우, 10월 1일~31일까지의 사용 내역이 11월 중순부터 자동 조회 가능!
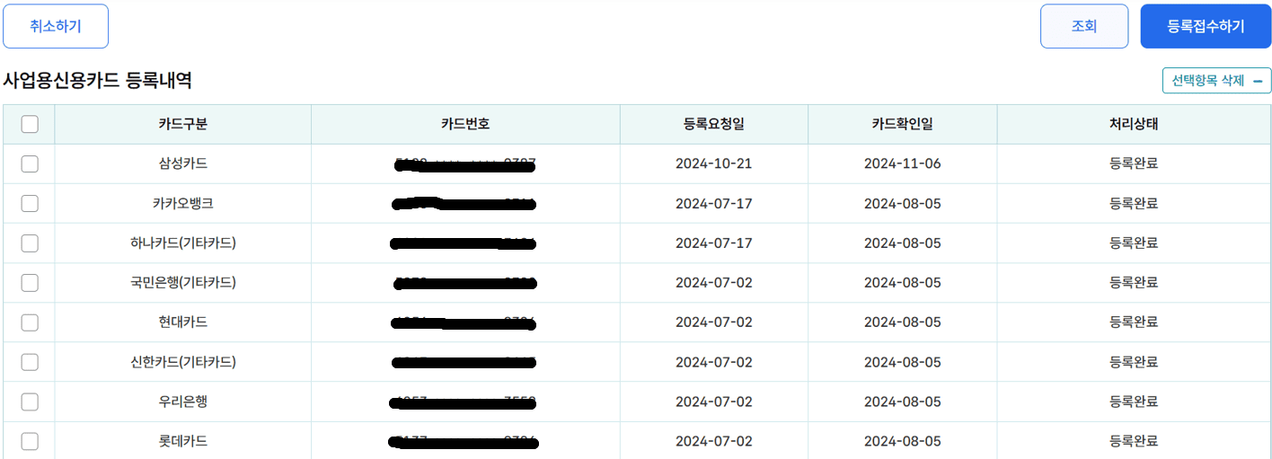
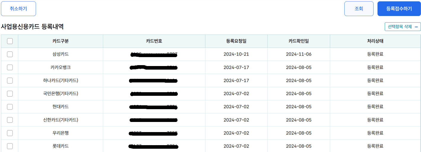
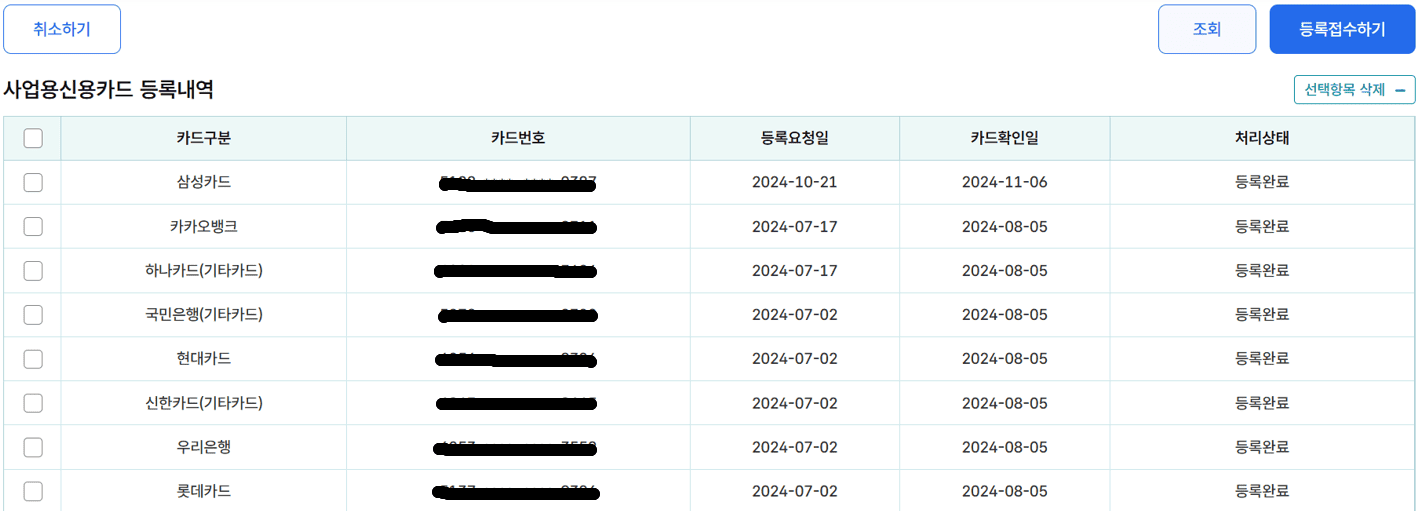
등록 완료 후 조회는 이렇게
① 홈택스 접속 후 [계산서·영수증·카드] → [신용카드 매입] → [사업용 신용카드 사용내역]으로 이동하면, 등록된 모든 카드의 사용내역이 정리된 형태로 조회 가능합니다.
② 건별 내역, 공제 가능 여부, 증빙 처리 여부 등도 바로 확인할 수 있어 신고 효율 UP!
사업자는 세무의 시작이 곧 '기록 관리'입니다. 홈택스의 사업용 카드 등록 기능을 이용하면 번거로운 영수증 관리 없이도 자동으로 필요한 정보가 누적되어 부가세 신고가 훨씬 수월해집니다. 한 번 등록해 두면 매월 반복되는 업무가 간편해지니, 지금 바로 등록해보세요!
👇 카드 등록부터 내역 확인까지 모두 가능한 홈택스에서 바로 카드 등록하세요!
위 버튼을 누르시면 해당 페이지로 이동합니다.
Q&A
Q1. 카드 등록은 언제까지 해야 하나요?
A. 가능한 한 월 초에 등록하는 것이 좋습니다. 등록한 달의 사용 내역은 익월 15일경부터 조회 가능합니다.
Q2. 가족카드도 등록할 수 있나요?
A. 아니요, 등록 가능한 카드는 대표자나 기업 명의의 신용카드 및 체크카드에 한정됩니다.
Q3. 자동 수집된 자료는 어떻게 활용하나요?
A. 매입세액 공제용 증빙자료로 활용됩니다. 부가세 신고 시 바로 불러와 제출 가능하죠.
Q4. 등록 후 카드 내역이 누락되었어요. 왜 그런가요?
A. 등록일 기준으로 이후 발생한 거래만 자동수집됩니다. 이전 거래는 따로 수동입력해야 합니다.
Q5. 등록한 카드 삭제는 가능한가요?
A. 카드 정보 삭제는 홈택스 내에서 선택 후 삭제 버튼으로 간단히 처리됩니다.








